Sunday April 2026

হটলাইন

সেবা এবং ধাপ

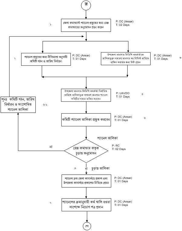
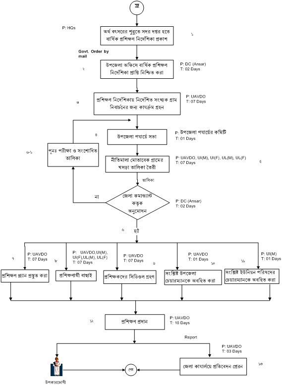
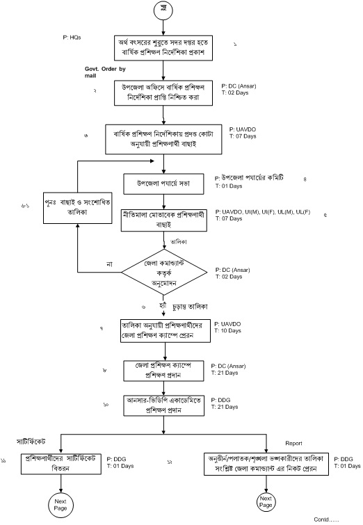
নং শিরোনাম সেবার ধাপ কার্যকলাপ
  
ক্ষুদ্র ঋণ সেবা দেখুন
অঙ্গীভূত আনসার মোতায়েনের মাধ্যমে নিরাপত্তা সেবা দেখুন
জাতীয় জরুরী প্রয়াজনে নিবার্হী আদেশবলে স্বল্প মেয়াদে আনসার অঙ্গীভূতকরণ দেখুন
সরকারী/বেসরকারী সংস্থায় আনসার অঙ্গীভূতকরণ দেখুন
পেশাভিত্তিক প্রশিক্ষণ দেখুন
সাধারণ আনসার মৌলিক প্রশিক্ষণ (পুরুষ ও মহিলা) দেখুন
গ্রাম ভিত্তিক মৌলিক প্রশিক্ষণ (ভিডিপি পুরুষ ও মহিলা) দেখুন
দেখছেন ১ থেকে ৭ পর্যন্ত, মোট ৭ এন্ট্রি

এক্সেসিবিলিটি

স্ক্রিন রিডার ডাউনলোড করুন